
膜式蒸发器
降膜蒸发器


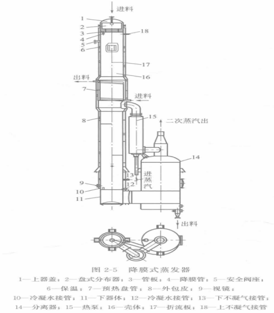
在降膜式蒸发器中,料液在降膜式蒸发器中膜的形成与升膜式蒸发器完全不同。在降膜式蒸发器顶部设有料液分布器(应用最为广泛的是盘式分布器),料液分布器的作用是将进料均匀地分配给每根降膜管,并保证每根降膜管中的料液以液膜的状态沿着管壁向下流动。料液在降膜管中的流动是在重力及二次蒸汽流的作用下进行的,由于不是二次蒸汽克服料液自身的重力推动向上成膜,而是料液边向下流动边蒸发,到了降膜管底端,料液与二次蒸汽基本完成了分离,因此二次蒸汽夹带料液的现象大大改善,料液在加热管中布膜及蒸发更加稳定而有序。
降膜式蒸发器体积较大,占用空间较大,比同生产能力的外循环、强制循环蒸发器外形尺寸都要大。因此,一次性投资成本也比较大。
降膜式蒸发器的另一特点是节能,运行成本较低,而强制循环蒸发器的动力消耗大。因此,能用降膜式蒸发器蒸发的则不采用强制循环蒸发器或外循环蒸发器。
降膜式蒸发器在热敏性物料的低温蒸发上更显其优越性。作为节能技术的热压缩装置即热泵在降膜式蒸发器中获得了广泛的应用并产生了良好的经济效益及社会效益。
升膜蒸发器
在升膜式蒸发器中,料液在二次蒸汽流的拖动下以液膜的状态沿着管壁向上流动,边流动边与管外加热介质进行热与质的交换并蒸发。升膜式蒸发器不适合浓度较高的易结垢结焦或在蒸发过程中有结晶析出的料液的蒸发,其特点是在高速的二次蒸汽流及真空的作用下在管壁成膜并向上运动,蒸发后料液与二次蒸汽从蒸发器顶部进入分离器,实现蒸发后料液与二次蒸汽的分离。进入升膜式蒸发器中料液的温度必须大于或等于蒸发温度,否则料液在蒸发器底部必有一部分受热面用来加热料液使其达到沸点后才能汽化蒸发,不仅如此,低温的物料进入蒸发器后不能马上形成液膜,而且在泵及真空的作用下会以液柱的形式上升,从而降低了蒸发效率。由于料液在加热管中的布膜完全靠高速的二次蒸汽流及真空带动下形成,所以其膜不稳定,进入分离器时在二次蒸汽与料液分离过程中更容易产生二次蒸汽中雾沫的夹带,即分离不彻底而造成跑料。升膜式蒸发器的特点更适合高温加热蒸发这样可获得较高的加热温差并达到预期的二次蒸汽的流速。当蒸发量大于料液



